在這個離不開科技產品的時代,相信許多果粉一開始使用 Apple ,就回不去了吧(笑)!除了人手一支的iphone以外,像是Apple watch、airpods等蘋果周邊也不斷進化,現在 Apple 居然還計畫推出一款超小巧的蘋果智能戒指「Apple Ring」,果粉們是不是準備要暴動啦~
「能屈能伸」的智慧科技!Apple Ring設計圖曝光
圖片來源:appleinsider
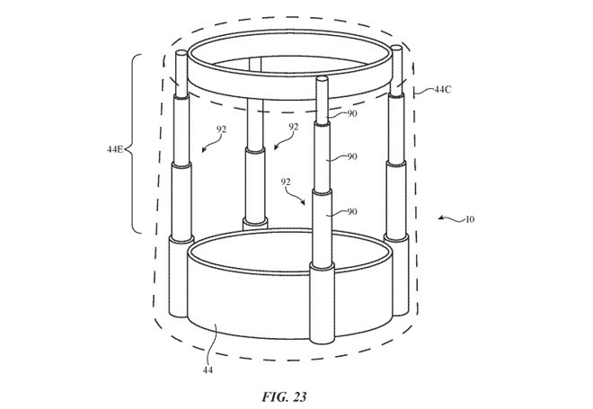
光用想的就令人興奮又期待!根據國外媒體 AppleInsider報導的Apple Ring 設計圖,我們可以發現,正處於研發階段的「 Apple Ring 」居然跟一般固定指環的戒指不一樣!身為一項與科技創新結合的產品,Apple Ring 可以隨著使用者的手指粗細度和關節位置隨時延伸或拉長,讓肉肉手指的朋友們也能放心配戴這款Apple Ring!
圖片來源:appleinsider
圖片來源:appleinsider
圖片來源:appleinsider
Apple Ring多功能又不佔體積,可取代Apple Watch?
正處於研發設計階段的 Apple Ring 有什麼功能呢?據悉是由Apple Watch改良而來,所以Apple Watch偵測用家的血壓、步行數、身體姿勢等體感數據的功能都有!
圖片來源:appleinsider
Apple Ring能做的:毎日追蹤健康指數
我們都知道,如果配戴了Apple Watch,就可以透過「健身記錄」APP來追蹤每天活動量、心跳、運動量、站立時間、睡眠深度等,不過,並不是每個人都有配戴Apple Watch的習慣,一旦有了Apple Ring,我們就可以以更輕巧的方式來記錄這些健康指數了!
Apple Ring能做的:手指就能感應支付
雖然手機已經擁有了「Apple pay」的支付功能,但未來若Apple Ring能結合支付功能,付款就能變得更加便捷。據傳,蘋果戒指還會加入指紋識別功能,提供支付時的最後確認,未來付款時,或許根本不需要掏出手機或錢包,只要將手指靠近支付機感應就好了!
Apple Ring能做的:連結各個Apple裝置,輕鬆下達語音指令
輕巧不佔體積的Apple Ring,未來或許也能控制手機、電腦、耳機等智能裝置,像透過Apple Ring的「語音指令」來轉台Apple TV、控制電視音量,或是連結airpods變換歌單,甚至解鎖Macbook等等。
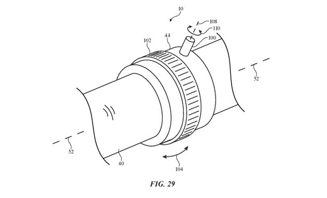
▼通過在不同位置使用多個發射器, Apple Ring 可以在戒指旋轉中更精準的偵測位置,和空間中的其它設備精準連接!
圖片來源:appleinsider
如果你早就是Apple Watch的忠實粉絲,那你一定會愛上這個愛具有設計感、兼顧實用與便利的未來智能戒指Apple Ring!期待在將來問世時,能串連蘋果的各個設備,當一個全身上下都能聯通的「蘋果迷」!
延伸閱讀:iPhone推救命新專利!蘋果「緊急生存模式」登場,突破「無訊號+低電量」兩大威脅!
延伸閱讀:Apple Watch5好用嗎?解密Apple Watch 5大新功能!內建語音備忘錄與計算機,還能偵測方位、經期,連跌倒都能找人救你
加入【Beauty美人圈】LINE@,最新美妝娛樂話題不漏接查看原始文章
商品推薦
- iOS 13.2 內文件發現 Apple 神秘 AirTag 配件
- 新攝影配件獲 MFi 認證 iPhone 11 變拍片利器
- 7-11也能買到Apple原廠充電線?7-11 x Apple強強聯手,推出「Apple原廠配件專區」!
- 還把Apple Watch 戴手上?現在流行改成復古懷錶了
- 不一定要買 Apple 產品才能做公益,用 Apple Pay 付款也能支持 (RED) 對抗愛滋病
- Apple據傳將推出Airpods Pro Lite!新款耳機重量更輕巧、價格更親民
- 開放銷售 Apple 原廠配件,日本 7-11 變身迷你 Apple Store!
- iPhone 11 新款保護殼配件曝光,直接明示新機將支援迷你版的 Apple Pencil
- 果粉們集體暴動!Apple 推出客製化 AirPods「Emoji 刻印」服務,更重要的是「不用錢」!
- 終於能把 iPhone 當成悠遊卡來使用?Apple 可能將解除 NFC 功能封印
- 韓妞都在用!換張桌布,一秒提升手機質感!15張韓系質感桌布,塞爆手機容量都不嫌多~
- 《3C手機開箱及包膜推薦》iPhone 11 Pro新機入手feat.新竹竹北小豪包膜最新優惠分享︱(影片)
- 想從頭到腳當個韓妞嗎?精選15張「韓系色塊桌布」給你~所有韓韓的小元素都不能放過!
- 蘋果2019最新Emoji來了!「打哈欠、棕色愛心」超欠收~已推出全新59個超萌表情符號
- 咖波推出超萌「貓貓蟲連身睡衣」!5款限量貓貓蟲周邊,就在這天限量販售
- 2019手腕手臂式血壓計推薦:歐姆龍泰爾茂日本精密小米
- 吃螃蟹也有禁忌?2019螃蟹料理吃到飽推薦!教你吃秋蟹完整攻略!
- 噴墨、雷射選哪個好?最詳盡印表機人氣排行榜,購買不再霧煞煞~
- PTT最推的好市多COSTCO「廚房神器」是這款?!行家爆料五大隱藏功能,萬用度100分!
- 隨身空氣清淨機有用嗎?有效果好才值得推薦!LG隨身空氣清淨機
- DIOR也推出airpods保護套了!精品時尚小配件掛在腰間、包上,再也不怕airpods離家出走!
- pizza hut必勝客|9月必勝客優惠券看這邊!!!!!必勝客優惠2019、必勝客推薦、必勝客菜單2019
- 公路車.單車外胎使用心得推薦懶人包
- 超顯白髮色推薦~2020春夏大勢「柔霧玫瑰棕色」!頭髮飄出女神仙氣啦~
- 直線思考的人找不到這題答案!你知道手裡劍隱藏在圖中哪一塊區域嗎?
- 一年四季都在煩擾的痘痘肌!不同季節就該用不同方法解決啊~!
- 日本瘋傳的心測你最喜歡哪一款「神美」等級的指甲彩繪?看看你的另一半忠誠度有多少!膽小鬼誤測!
- 關於相處的真諦!記得告訴對方:「要喜歡我,就要喜歡我本來的樣子!」
- 2020年初超燃火!必買「美腿系」白鞋推薦~穿上腿長激升5公分!
- 這張圖片你第一眼先看見什麼??測出你內心的壓力來源!!
- 覺得不再愛他了!?很可能只是一時以氣!想到這3點就不會想分了!
- 跟他們談戀愛的幸福度最高!跟這些星座在一起超級幸福~在乎感滿滿的!
- 劈腿心理學!容易劈腿的3種人格特質,妳遇過這樣的對象嗎?