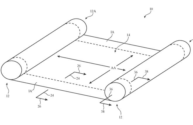
根據外媒報導,Apple 已經向美國國家專利商標局(USPTO)提交了多項專利,其中一項專利就是一項可以折疊的 OLED 螢幕設計,而且不只是一折而已,而是可以將整個螢幕「捲」起來,有點像是古代皇帝聖旨的形狀呢~
但該報導中值得一提的是,其實該項專利並沒有限定會使用在智慧型手機上,很有可能用在未來的 Macbook、iPad 上也說不定,但可以確認的是,至少 Apple 也有準備在折疊螢幕這項產品的發展上,或許未來也是指日可待的。
來源:PhoneArena查看原始文章
商品推薦
延伸閱讀
- Apple又出新產品了!?「AirPods Pro Lite」輕巧版提升性能!粉絲敲碗出黑色款~
- [ DAC推薦 ] Maktar Spectra X2 – MFi 認證 iPhone / iPad 專用耳機擴大器
- iPhone新增「竊聽功能」?任何藍芽耳機都可以
- iPhone 7 傳聞即將推出 Beats 無線耳機!
- 緩慢升級中,高階 iPhone 12 機款終於有望配置 6GB RAM
- 大量 iPhone SE2 渲染圖流出,竟然是這個造型?
- 3.5 mm 耳機孔將保留?最新 iPhone 7 諜照再度流出!
- 我剛省下了 159 美元! 網友瘋狂吐槽 iPhone 7 無線耳機 AirPods 超爆笑!
- 小尺寸 iPhone 回來了,iPhone SE 2 規格曝光:4 英吋螢幕+A 10 處理器,或下個月發佈
- 小編私房話:若要從 iPhone 跳槽到 Android,請先問自己這些問題
- 韓妞都在用!換張桌布,一秒提升手機質感!15張韓系質感桌布,塞爆手機容量都不嫌多~
- 想從頭到腳當個韓妞嗎?精選15張「韓系色塊桌布」給你~所有韓韓的小元素都不能放過!
小編推薦
- 生活多了「它」你會方便許多!2019 新版大創8項隱藏版好物
- 12色襯衫穿搭一次整理!朝氣感女人味就用多彩襯衫來打造
- 小資女最好搭名牌包!編輯盤點4款台幣10000元以下,入手不心痛每天都可以背!
- 可以休閒也可以正式!女生秋冬西裝外套穿搭,一不小心比男友帥!
- 【父親節送什麼】2019最新平板電腦推薦:iPad、ASUS、Samsung、Huawei、SuperPad
- 5款小眾包包品牌盤點:2019那些IG、ptt熱門精品包款
- 首爾弘大客製化刷具店「Revoir Brush」CP值超高,專業試刷空間、刷具刻字服務,完全是刷具控的天堂!
- 上班好厭世?就靠『辦公室實用好物/上班族紓壓小物』療癒你!
- 視力測驗!你花多久時間找到圖片裡的毛毛蟲?
- 網友瘋傳的超準心測:你會因為什麼原因「換掉另一半」呢?趕快來測測看你的愛情觀吧!
- 聰明人絕對算錯!算對絕對不聰明~測你是凡人 還是「智者」?!
- 天蠍就是心機重?這幾個星座的「刻板印象」害了他們!熟悉後才發現,原來以前誤會他那麼深~
- 其實髮線已偷偷向後移!但你還傻傻不知道~不敢再綁大馬尾!?4招預防及治療!
- 他們無法堅持到最後~最不適合「愛情長跑」星座TOP3!
- 風格生活節開跑|舒服地廢在家是最幸福的事,一起打造舒適的居家環境
- 史努比 X BRUNO聯名熱壓吐司機、電烤盤,實用性高又可愛的萌物家電!
- 從你第一眼看見的東西~測出你潛在的個性是什麼?
- 這些星座最愛談「龍捲風似的愛情」~愛情「來的快去得也快」!