如果你喜歡的是擬真風格的繪畫,讓作品色彩趨近於真實會是非常重要的工作,根據美國專利商標局所發布的 Apple 專利申請文件中顯示,該公司正在探索新的技術,該技術讓 Apple Pencil 能夠從真實世界任何物品取樣色彩,以用於數位創作、繪畫與編輯等。
Apple 提出專利申請,讓 Apple Pencil 具備從真實世界色彩取樣能力
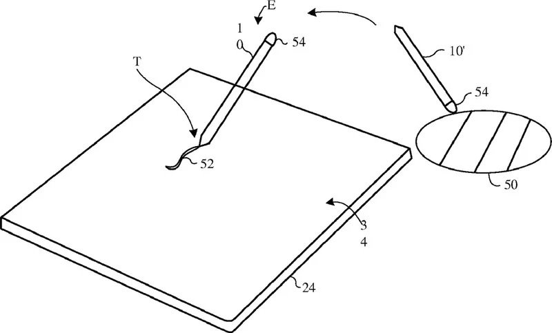
這項由 Apple 提出的新專利名為「Computer System With Color Sampling Stylus」,主要描述了一種可能具備有顏色感測器的智慧觸控筆筆型工具。在該顏色感測器將配備多個光電檢測器,這些光電檢測器能夠測量筆尖上不同顏色所傳導的光,從而達成檢查並取樣來自現實世界物體上的顏色,例如花朵、靜物等。該觸控手寫筆還能配備燈源,以使光電檢測器更精準且更容易辨識並確認色彩,在該專利文件中也敘述了這將會是一個與 Apple Pencil 擁有類似的外型設計,細長的筆身、筆尖和相對的上端工具,在筆尖部分還能搭配感壓顯示器來使用。Apple 表示,顏色感測器將可以配置在觸控手寫筆的筆尖、上端處,或是透過光導耦合到筆尖位置。
借助這種技術,Apple Pencil 的用戶將可以進行諸如 Apple Pencil 在現實世界中的物體上握持的操作,而 Apple Pencil 可以讀取顏色,用於寫實繪畫,或是僅用於取樣植物、現有藝術品等的獨特顏色。根據專利文件,觸控筆將檢測顏色,然後將其放入繪圖應用程式的調色板中,在該應用中可以將顏色沾上畫筆。Apple 還建議顏色感測器可以用於其他目的,例如校正顯示器顏色、校正印表機,進行與健康相關的測量以及識別家庭裝修的油漆顏色等,使 Apple Pencil 運用範圍更廣、更生活化。
Apple 為各種不同的技術申請了專利,部分似乎具可行性,部分則相當有賣點,但永遠無法保證 Apple 的專利是否實體化,事實上大多數專利是針對從未發布的技術先進行自我保護,有時在產品上看到可能會是數年後,或是永遠不會出現。
◎資料來源:MacRumors、美國專利商標局
商品推薦
- APPLE迷揭露「6大愛用iPhone理由」~果粉死守原因在這!難怪新蘋果再貴也要買~
- 為何 iPhone 12 恐延後推出?原因可能是 Apple 禁止員工出差
- iPhone SE 開箱體驗 :我就值得!
- iPhone 9/SE 2 有推兩種尺寸,Apple 2020 年將一口氣推六款 iPhone?
- Apple 釋出 iOS 13.5.1 更新,Unc0ver 越獄宣告失效
- 不是 iPhone 9 也不是 iPhone SE 2,Apple 平價款新機就叫 「iPhone」?
- iOS 14 居然暗藏 「敲敲」iPhone 背殼的操作密技 !
- 超強 iPhone 解鎖密碼工具! iMyFone LockWiper 可移除 Apple ID、螢幕鎖定密碼、螢幕使用時間
- 用消毒紙巾清潔 iPhone ?Apple:OK 的(官方建議注意事項)
- Apple 新開發工具釋出,開發者可透過 Windows 10 電腦作業
- 2019生活工場必買推薦!週年慶網購全館8折起,家具 抱枕 Hello Kitty多項好物出清讓你買到手軟~
- 噴墨、雷射選哪個好?最詳盡印表機人氣排行榜,購買不再霧煞煞~
- 吃元宵囉!2019冬至將至 這些「冬至湯圓習俗」你知道多少?
- 秋季「韓」風來襲!韓國女孩的 10 大穿搭法則
- 隨身空氣清淨機有用嗎?有效果好才值得推薦!LG隨身空氣清淨機
- pizza hut必勝客|9月必勝客優惠券看這邊!!!!!必勝客優惠2019、必勝客推薦、必勝客菜單2019
- 手寫的文字更有溫度!IG必追的手寫字藝術家,光看著就療癒!
- 運動涼鞋配襪子「這樣穿」最好看!7款涼拖鞋讓你穿出撞色新時尚
- 隋棠、陳庭妮搶先背Coach全新Tabby包,莫蘭迪色逆天美包,高CP值包色預備!
- MUJI 前員工爆料!無印良品8大必買商品,還有建議別買清單,一次報你知!
- Ptt、Dcard公認不踩雷上班族穿搭、平價女裝品牌,首選就看-Meier.Q!
- 韓網大推「一個月瘦7kg」的超輕鬆減肥方式!網友實測減肥菜單+健身運動大揭密~
- 每天都熱到想剪短?「夏日沁涼」髮型推薦!這幾款涼爽又時髦~
- 今年超流行牛油果!~JELLYCAT推出「牛油果卡通系列」,萌翻天!
- 【07/20-07/26】十二星座每週愛情運勢 (上集) ~雙子座容易對另一半產生懷疑,在戀情中也比較容易失去自信!
- 韓妞的髮型小心機!今年的髮飾趨勢「鯊魚夾、大腸圈」SIS們跟上了嗎~
- Kakao Friends推出「萊恩三合一充電座」!超方便一次充電,I-phone、Airpods及Apple Watch!
- 約會時要小心!這幾個「地雷點」不要踩到~男生可能萌生「不怎麼合得來」的念頭!
- 雞蛋減肥法菜單大公開!教你如何一週輕鬆減去5kg! 和你的肥胖說掰掰~
- 罐頭食品排行榜大公開!鮪魚罐頭、鮑魚罐頭、水蜜桃罐頭,好吃的人氣罐頭推薦一次看
- 超可愛的童心噴發系列餅乾鞋~完全就是夏季的必備萌品!