也許是看到目前琳琅滿目的各種為 MacBook 所打造的支架產品百架齊放,蘋果似乎也打算透過「再創新」筆電產品,讓使用者可以享受更好的使用體驗。最近,透過一個名為「可攜式電子裝置聯動組件」(Linkage assembly for a portable electronic device)」的專利,我們看到了 Apple 可能為筆電使用者帶來的可能新設計。繼續閱讀讓 MacBook 鍵盤與螢幕抬升至更舒適角度的蘋果專利被挖出報導內文。
▲圖片來源:USPTO
讓 MacBook 鍵盤與螢幕抬升至更舒適角度的蘋果專利被挖出
要如何能讓筆電產品的觀賞以及打字體驗更好?現在已經有許多配件商都透過收起不佔空間,又可以提供多種角度切換的產品,來讓筆記型電腦的使用者可以透過抬起螢幕並給予鍵盤更傾斜的角度,藉此舒緩解放長時間工作的肩頸不適問題。
▲圖片來源:USPTO
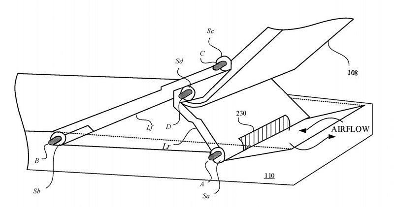
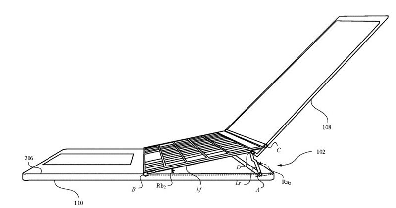
也許是看到了這方面的需求,蘋果似乎也準備要針對 MacBook / MacBook Pro 筆電產品本身下手改良,在最新被阿現的專利裡,提出了個在筆電 C 與 D 件,也就是鍵盤與底部之間加入類似鉸鏈或支架的機制,藉此透過抬起機身來提供更舒適的使用體驗並加強散熱的空氣對流。
▲圖片來源:USPTO
專利文件中 Apple 放出了兩種形式的抬升方式,主要的差異點在於轉軸的機制是在鍵盤底部右或者是觸控板的底部 -- 這裡主要影響在鉸鏈機制抬高角度的部件是否包含觸控板,然後除了可以讓螢幕更為平視,也同時希望避免鍵盤遮擋觀看,所以也會跟著鍵盤一同隨著螢幕轉軸等機制被抬高。
姑且不論 Apple 這次的專利是否有機會真的實現。其實在筆電上提供類似的抬升機制,現階段也不算少見 -- 其實有的筆電的螢幕打開時,上蓋螢幕的部分在軸心可以自然的撐起。最近最有印象的是 ROG Zephyrus Duo 就為了將鍵盤頂端的第二螢幕變得更適合觀看,選擇搭載了類似的連動升降機制,並且也對氣室的散熱效果有所增進。這次蘋果的專利雖然不一定會真的實現,但也給予了我們許多 MacBook Pro 系列產品的新想像。
本篇圖片 / 引用來源
延伸閱讀:
可觸控互動的包裝紙?無線「紙鍵盤」也許就在眼前(示範影片)

有人用微軟《模擬飛行》重現 macOS 經典桌布(對照超有趣!)

查看原始文章商品推薦
- 新專利顯示 未來 MacBook Pro 的鍵盤與滑鼠觸控版,可能都會添加顯示螢幕
- 蘋果警告 MacBook 使用者不要安裝鏡頭護蓋,可能導致螢幕破裂
- 2020 年款 MacBook Air 與 MacBook Pro 14 傳將全面搭載剪刀腳鍵盤
- MacBook Pro 16 吋開箱體驗 :熟悉的新朋友
- 【快訊】蘋果 16 吋 MacBook Pro 發表!全新鍵盤設計 繪圖處理器效能提高 80%
- 剛換筆電的朋友要哭了!蘋果推出超強大全新 MacBook Air、iPad Pro,看完這篇一定會上火!
- 外國 YouTuber 簡易開箱 iPad Pro 巧控鍵盤,12.9 吋 iPad Pro 組合比 MacBook Air 還重
- iFixit 拆解 MacBook Pro 16:終於擺脫問題多多的蝶式鍵盤,剪刀腳機構回來了!
- 16 吋 Macbook 剛上市就傳喇叭爆音、螢幕重影等狀況
- Kolude Keyhub 九合一集線鍵盤開箱動手玩,充分解放你的桌面
- OG情侶來啦~小時候一定喜歡過的米奇米妮!復古風桌布正中小編心~
- 懷舊系列桌布~似河馬的白雪雪精靈Moomin!圓滾滾的肚子好可愛呀~
- 必收!《鬼滅之刃》推出動畫版全新 LINE 貼圖,可以天天跟朋友互傳炭治郎和禰豆子了!
- 想從頭到腳當個韓妞嗎?精選15張「韓系色塊桌布」給你~所有韓韓的小元素都不能放過!
- 卡娜赫拉桌布精選輯「跟著卡娜赫拉一起看星星、堆雪人」15張桌布哪張深得妳心?
- 生活多了「它」你會方便許多!2019 新版大創8項隱藏版好物
- 韓國OLIVE YOUNG話題新品特搜!原子筆眼線、木瓜霜唇釉,每一款都是洗版韓妞SNS大勢單品
- 吃元宵囉!2019冬至將至 這些「冬至湯圓習俗」你知道多少?
- 買得到算你幸運!韓妞推爆的3款刷具,去韓國絕對不要錯過啊~
- Switch 出全新裝修遊戲《Tools Up!》考驗友情!盤點 4 個曾經玩到絕交 Switch 派對遊戲!
- 天然尚好!歐美女孩瘋Frank body, 用最天然的咖啡渣去角質~
- 公認 2019 最適合旅行隨身相機:「全球最輕旗艦級隨身機
- 電動機車Gogoro3正式上市!最高補助、優惠重點懶人包
- 手搖杯大事記!台灣設計環保杯FLOAT,不用吸管也能喝珍奶!
- 上班好厭世?就靠『辦公室實用好物/上班族紓壓小物』療癒你!
- 這一雙超百搭!NIKE 推出淺粉球鞋「IVORY JADE」!少女感滿滿的配色~
- 到底對我是什麼意思?曖昧的好苦!12星座心裡到底是不是喜歡我?(下)
- 【駐站作家:洛克夫人愛犀利Ashley】景觀餐廳推薦|精選四大夜景餐廳極度浪漫的約會聖地
- SIS真心話「看得見的地方要保養,看不見的地方更要保養!」最私密的保養品,讓妹妹也被照顧到
- 楊丞琳也在瘋的168間歇斷食法,1個月甩4公斤!新手入門搭配運動更容易瘦!
- 超萌卡娜赫拉推出家具組合~還不認識牠也太out了吧!給你滿滿療癒感~
- 到底對我是什麼意思?曖昧的好苦!12星座心裡到底是不是喜歡我?(中)
- 馬甲內衣推薦:誘人曲線不是夢!CP值超高馬甲塑身衣精選
- Hermès推出極奢華精品麻將!全小牛皮製麻將,手工製作極高級~
- 第一次住男友家這些NG行為絕不能做!幫忙打掃整理房間小心被扣分!?
